Volkswagen Touran Handbücher

Volkswagen Touran Reparaturanleitung :: Spezielle Stecksysteme

  Hinweis

Gegebenenfalls vorhandene Gehäusesicherungen (Sekundärverriegelungen) müssen vor dem Entriegeln der Kontakte mit dem vorgeschriebenen Werkzeug entriegelt oder entfernt werden → Kapitel.
   
Faston-Kontakte:
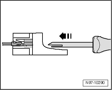
Führen Sie das zum Kontaktgehäuse passende Entriegelungswerkzeug in den Entriegelungskanal am Kontaktgehäuse ein.
Greifen Sie den Kontakt an der Leitung und drücken Sie ihn leicht in das Kontaktgehäuse hinein.
  Hinweis

Durch das Drücken des Kontakts in Richtung Kontaktgehäuse werden die Rastzungen des Kontakts von der Gehäuseschulter abgehoben und mit dem Entriegelungswerkzeug entriegelt werden.
  Spezielle Stecksysteme
Drücken Sie zeitgleich das Entriegelungswerkzeug in Richtung Kontaktgehäuse und ziehen Sie den entriegelten Kontakt aus dem Kontaktgehäuse heraus -Pfeil-.
Das Entriegelungswerkzeug kann nach Entnahme des Kontakts wieder aus dem Kontaktgehäuse gezogen werden.
  Spezielle Stecksysteme
GT 150/280 Kontakte:
Führen Sie das zum Kontaktgehäuse passende Entriegelungswerkzeug unter der Rastzunge in das Kontaktgehäuse ein.
Drücken Sie das Werkzeug bis zum Anschlag -Pfeil- in das Kontaktgehäuse ein.
  Spezielle Stecksysteme
Der Kontakt wird aus dem Kontaktgehäuse ausgeworfen.
Das Entriegelungswerkzeug kann nach dem Auswurf des Kontakts wieder aus dem Kontaktgehäuse gezogen werden.
  Spezielle Stecksysteme
Kontakte ohne Rastzungen:
Stecken Sie das Entriegelungswerkzeug unter die Rastzunge des Kontaktgehäuses.
Drücken Sie das Entriegelungswerkzeug unter leichtem Anheben -Pfeil- bis zum Anschlag durch.
  Spezielle Stecksysteme
Der Kontakt wird aus dem Kontaktgehäuse ausgeworfen.
  Spezielle Stecksysteme
Siehe auch:

Starthilfe durchführen
Abb. 226 Schema für das Anklemmen der Starthilfekabel bei Starthelfer-Fahrzeugen ohne Start-Stopp-System: entladene Fahrzeugbatterie Ⓐ und Strom gebende Fahrzeugbatterie Ⓑ. Abb. 227 Schema für das Anklemmen der Starthilfekabel bei Starthelfer-Fahrzeugen mit ...

Ausströmer Beifahrer- bzw. Fahrerseite aus- und einbauen
  Hinweis Das Ausbauen der Ausströmer auf beiden Seiten ist identisch, nur seitenverkehrt. Um Beschädigungen an der Schalttafel zu vermeiden, beim Aushebeln eine Unterlage verwen ...

© 2016-2026 Copyright www.vwtourande.com