Volkswagen Touran Handbücher

Volkswagen Touran Reparaturanleitung :: Schalldämpfer mit Halter aus- und einbauen

 
ACHTUNG!
Es besteht Gefahr durch Verbrennung.
Der Schalldämpfer kann heiß sein.
Vor dem Ausbau Schalldämpfer abkühlen lassen.
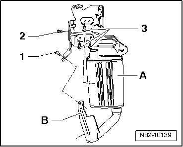
Lösen Sie die Rohrverbindungen vom Schalldämpfer -A-.
Drehen Sie die Schraube -1- an der Stütze -B- heraus und legen Sie das Abgasrohr zur Seite.
Schraube -2- am Schalldämpfer -A- herausdrehen.
Schalldämpfer -A- abnehmen.
Lösen Sie die Schrauben -3- vom Halter.
Halter aus den Zentrierlaschen lösen und herausnehmen.
Der Einbau erfolgt in umgekehrter Reihenfolge.
  Hinweis

Beim Anbau des Halters -3- Zentrierlaschen beachten.
  Schalldämpfer mit Halter aus- und einbauen
Siehe auch:

Kopfairbag Fahrer-/Beifahrerseite, Kalenderwoche 42/2006►, aus- und einbauen
  Hinweis Der Aus- und Einbau ist für die rechte Fahrzeugseite beschrieben. Der Aus- und Einbau für die linke Seite erfolgt sinngemäß.     Ausbauen ...

Sicherheitsgurt mit 2 Gurtschlössern anlegen oder ablegen
Abb. 60 Sicherheitsgurt am mittleren Sitz in der zweiten Sitzreihe anlegen. Lesen und beachten Sie zuerst die einleitenden Informationen und Sicherheitshinweise⇒Einleitung zum Thema Richtig angelegte Sicherheitsgurte halten die Insassen bei einem Bremsmanö ...

© 2016-2025 Copyright www.vwtourande.com