Volkswagen Touran Handbücher

Volkswagen Touran Reparaturanleitung :: Längslenker mit Lagerbock aus- und einbauen

Benötigte Spezialwerkzeuge, Prüf- und Messgeräte sowie Hilfsmittel
   
Drehmomentschlüssel -V.A.G 1332-
  Längslenker mit Lagerbock aus- und einbauen
Aufnahme -T10149-
Ausbauen
Rad abbauen.
Bauen Sie die Schraubenfeder aus → Kapitel.
  Längslenker mit Lagerbock aus- und einbauen
Schraube -Pfeil- für Handbremsseil -1- vom Längslenker -2- abschrauben.
  Längslenker mit Lagerbock aus- und einbauen
Fahrzeuge mit Halterung für Handbremsseil
Bauen Sie die Halterung -1- ab, dazu den Innenstift des Nietes -Pfeil- herausdrücken.
Fortsetzung für alle Fahrzeuge
  Längslenker mit Lagerbock aus- und einbauen
Koppelstange -1- vom Längslenker abschrauben.
Schrauben -Pfeile- herausschrauben.
Kennzeichnen Sie die Einbaulage des Lagerbockes am Aufbau.
  Längslenker mit Lagerbock aus- und einbauen
Schrauben -Pfeile- herausdrehen.
Längslenker mit Lagerbock herausnehmen.
Wenn der Längslenker ersetzt werden soll, muss der Lagerbock vom Längsträger abgebaut werden.
Die Einbaulage des Lagerbockes zum Längslenker muss dann eingestellt werden → .
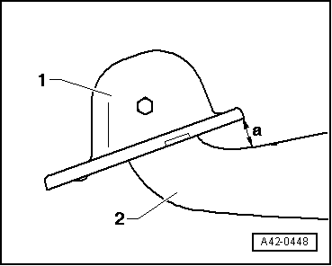
Einbaulage des Lagerbockes zum Längslenker ermitteln
  Längslenker mit Lagerbock aus- und einbauen
Das Maß -a- beträgt 36 +- 1mm.
1 -  Lagerbock
2 -  Längslenker
Wenn das Maß -a- eingestellt ist, Schraube festziehen.
Einbauen
Die Schraubverbindung Längslenker/Radlagergehäuse darf nur festgezogen werden, wenn alle weiteren Bauteile (unbedingt Feder und Dämpfer) der jeweiligen Radaufhängung bereits montiert sind. Zum Festziehen muss sich die Radaufhängung im ausgefederten Zustand befinden. Nur jetzt bewegen sich der Längslenker und das Radlagergehäuse in die notwendige Position -Pfeile-.
  Längslenker mit Lagerbock aus- und einbauen
Position: Verschraubung Längslenker/Radlagergehäuse
Beachten Sie bei den nachfolgenden Arbeitsschritten unbedingt die Reihenfolge!
  Längslenker mit Lagerbock aus- und einbauen
Längslenker und Lagerbock mit den Schrauben -2- an Radlagergehäuse ansetzen.
Koppelstange -3- in Längslenker einsetzen, Mutter noch nicht festziehen.
Radaufhängung mit Motor -und Getriebeheber -V.A.G 1383 A- und Aufnahme -T10149- anheben bis der Lagerbock am Aufbau anliegt.
  Längslenker mit Lagerbock aus- und einbauen
Schrauben -Pfeile- auf dem alten Abdruck festziehen.
Radaufhängung wieder mit Motor -und Getriebeheber -V.A.G 1383 A- ablassen und Aufnahme -T10149- von Radnabe abbauen.
Bauen Sie die Schraubenfeder ein → Kapitel.
  Längslenker mit Lagerbock aus- und einbauen
Schrauben -2- für Längslenker mit Anzugsdrehmoment festziehen, dabei auf die erforderliche Position der Bauteile achten → Abb..
  Längslenker mit Lagerbock aus- und einbauen
Koppelstange -1- an Radlagergehäuse und Stabilisator anschrauben.
  Längslenker mit Lagerbock aus- und einbauen
Handbremsseil -1- an Längslenker -2- anschrauben -Pfeil-.
  Längslenker mit Lagerbock aus- und einbauen
Fahrzeuge mit Halterung für Handbremsseil
Bauen Sie die Halterung -1- an, dazu den neuen Innenstift des Nietes -Pfeil- hineindrücken.
Fortsetzung für alle Fahrzeuge
Rad anbauen und festziehen → Kapitel.
Fahrzeugvermessung durchführen → Kapitel.
  Längslenker mit Lagerbock aus- und einbauen
Anzugsdrehmomente
Bauteil Anzugsdrehmoment
Längslenker an Radlagergehäuse
Neue Schrauben verwenden
90 Nm + 45
Längslenker an Lagerbock
Neue Schraube verwenden
90 Nm + 90
Lagerbock an Aufbau
Neue Schrauben verwenden
50 Nm + 45
Koppelstange an Längslenker
Neue Mutter verwenden
45 Nm
Handbremsseil an Längslenker → Bremsanlagen; Rep.-Gr.46
 
     
Siehe auch:

Wachs-Unterbodenschutz -D 316 000 A1
Benennung: Wachs-Unterbodenschutz -D 316 000 A1- Ausgabe 01.2008 Produktbeschreibung Wachs-Unterbodenschutz -D 316 000 A1- ist ein hervorragender ...

Scheinwerfer für Linksverkehr auf Rechtsverkehr umrüsten
  Hinweis Das Scheinwerferumrüstungsset besteht aus 2 Folien. Beachten Sie die unterschiedlichen Teilenummern für die Scheinwerferumrüstungssets von Rechtsverkehr auf Linksve ...

© 2016-2025 Copyright www.vwtourande.com