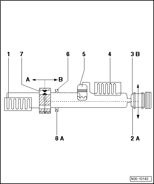
| A-Niederdruckseite des Kältemittelkreislaufes. |
| B-Hochdruckseite des Kältemittelkreislaufes. |

| Bauteil | Aggregatzustand des Kältemittels | Druck (bar Überdruck) | Temperatur Grad Celsius |
| -1- Verdampfer, vom Eingang bis Ausgang | Dampf | ca. 1,2 bar → Anmerkung | ca. -7 C → Anmerkung |
| (ca. 1,8 bar) → Anmerkung | (ca. -1 C) → Anmerkung | ||
| -2- Klimakompressor A-Seite | Gas | ca. 1,2 bar → Anmerkung | ca. -1 C |
| (ca. 1,8 bar) → Anmerkung | (ca. +1 C) → Anmerkung | ||
| -3- Klimakompressor B-Seite | Gas | ca. 14 bar | ca. +65 C |
| -4- Kondensator | Gas, Dampf, Flüssigkeit | ca. 14 bar | am Ausgang ca. +55 C |
| -5- Flüssigkeitsbehälter | Flüssigkeit | ca. 14 bar | ca. +55 C |
| -6- Absaug- und Füllventil B-Seite | Flüssigkeit | ca. 14 bar | ca. +55 C |
| -7- Expansionsventil | Flüssigkeit, in Dampf entspannt | ca. 14 bar | ca. +55 C, reduziert auf -7 C |
| -8- Absaug- und Füllventil A-Seite | Gas | ca. 1,2 bar → Anmerkung | ca. -7 C → Anmerkung |
| (ca. 1,8 bar) → Anmerkung | (ca. -1 C) → Anmerkung |
| 1) | Der Druck wird in Kältemittelkreisläufen mit regelndem Klimakompressor trotz sich änderndem Wärmetransport und unterschiedlichen Motordrehzahlen auf ca. 2 bar gehalten. Dieses gilt aber nur innerhalb des Leistungsbereiches des Klimakompressors; werden die Leistungsgrenzen des Klimakompressors überschritten, steigt der Druck an → Kapitel. |
| 2) | Die Temperatur wird in Kältemittelkreisläufen mit regelndem Klimakompressor trotz sich änderndem Wärmetransport und unterschiedlichen Motordrehzahlen, innerhalb des Regelbereiches des Klimakompressors gehalten. Dieses gilt aber nur innerhalb des Leistungsbereiches des Klimakompressors; werden die Leistungsgrenzen des Klimakompressors überschritten, steigt die Temperatur an. → Kapitel |
| 3) | Messwerte für Klimaanlagen mit zwei Verdampfern |
Hinweis
|
Anwendungs- und Sicherheitshinweise für Gasentladungslampen
ACHTUNG!
Wechseln Sie niemals Lampen, wenn Sie nicht mit den
entsprechenden Handlungen, Sicherheitsvorkehrungen und
dem Werkzeug vertraut sind.
...
Kopfairbag Fahrer-/Beifahrerseite aus- und einbauen, Touran 2011
Hinweis
Der Aus- und Einbau ist für die rechte Fahrzeugseite
beschrieben. Der Aus- und Einbau für die linke Seite erfolgt
sinngemäß.
Ausbauen
&n ...