Volkswagen Touran Handbücher

Volkswagen Touran Reparaturanleitung :: Hinterradbremse CII 41 - Montageübersicht

  Hinweis

Nach jedem Bremsbelagwechsel das Bremspedal im Stand mehrmals kräftig durchtreten, damit die Bremsbeläge ihren dem Betriebszustand entsprechenden Sitz einnehmen.
Zum Absaugen von Bremsflüssigkeit aus dem Bremsflüssigkeitsbehälter das Bremsen- Füll- und Entlüftungsgerät -VAS 5234- verwenden.
Vor dem Ausbau eines Bremssattels oder dem Trennen eines Bremsschlauchs ist der Bremspedalbelaster -V.A.G 1869/2- einzusetzen (dabei Druck abbauen).
I - Montageübersicht Frontantrieb
II - Abweichungen Allradantrieb

Hinterradbremse CII 41 - Montageübersicht

1 -  Drehzahlfühler hinten
vor dem Einsetzen des Fühlers die Innenfläche der Bohrung reinigen und mit Schraubenpaste -G 052 112 A3- bestreichen
2 -  Schraube
8 Nm
3 -  Schraube
90 Nm + 90
nach jeder Demontage ersetzen
mit Steckeinsatz -T10035- aus- und einbauen → Abb.
4 -  Radlagergehäuse
5 -  Abdeckblech
6 -  Schraube
12 Nm
Schraube M6x12
7 -  Radnabe mit Radlager
8 -  Bremsscheibe
Bremsscheibe 15 Zoll:
Ø 256 mm
Dicke 12 mm
Verschleißgrenze 10 mm
bei Verschleiß achsweise ersetzen.
zum Ausbau vorher Bremssattel abschrauben
Bremsscheibe 17 Zoll:
innen belüftet
Durchmesser: 310 mm
Dicke: 22 mm
Verschleißgrenze: 20 mm
bei Verschleiß achsweise ersetzen
zum Ausbau vorher Bremssattel abschrauben
9 -  Schraube
4 Nm
zur Fixierung der Bremsscheibe
10 -  Bundschraube
nur bei Frontantrieb
Anzugsdrehmoment siehe → Fahrwerk, Achsen, Lenkung; Rep.-Gr.42
11 -  Bremsbeläge
Dicke 11 mm ohne Rückenplatte
Verschleißgrenze: 2 mm ohne Rückenplatte
Dicke prüfen: Instandhaltung genau genommen → Heft
immer achsweise ersetzen
aus- und einbauen → Kapitel
12 -  Bremsträger mit unterschiedlichen Führungsbolzen und Abschirmkappe
wird zusammengebaut mit ausreichender Fettmenge an den Führungsbolzen als Ersatzteil geliefert
bei Beschädigungen an den Abschirmkappe oder an den Führungsbolzen Reparatursatz einbauen. Beiliegendes Fettkissen zum Befetten der Führungsbolzen verwenden
Montageanleitung Bremsträger 15 Zoll Bremsanlage: → Abb.
Beim Bremsträger der 17 Zoll Bremsanlage sind keine unterschiedlichen Führungsbolzen verbaut.
13 -  Belaghalteblech
bei Belagwechsel immer ersetzen
14 -  Bremssattel
zum Bremsbelagwechsel Bremsschlauch nicht abschrauben
aus- und einbauen → Kapitel
In Stand setzen → Kapitel
Nach Instandsetzungsarbeiten oder Ersatz muss zuerst das Handbremsseil eingestellt werden.
Handbremse einstellen → Kapitel
15 -  Schlauchhalter
16 -  Bremsleitung
14 Nm
17 -  Schraube
35 Nm
nach Demontage immer ersetzen
18 -  Handbremsseil
beide Rastnasen müssen am Halter des Bremssattels verrastet sein
Handbremse einstellen → Kapitel
19 -  Bremsschlauch

 
     
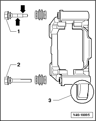
Montageanleitung Bremsträger CII 41 15 Zoll:
1 -  kürzerer Führungsbolzen mit Stufen - Pfeile- , einlaufseitig.
2 -  längerer Führungsbolzen, auslaufend.
3 -  Tilgermasse, auslaufend.
  Hinterradbremse CII 41 - Montageübersicht
Steckeinsatz -T10035-
  Hinterradbremse CII 41 - Montageübersicht
Siehe auch:

Schritt 4 (keine Späne in Kraftstofffördereinheit und -behälter vorhanden)
Kraftstoffbehälter mit 5 Liter Dieselkraftstoff befüllen. -  Kraftstoffbehälter nochmals wie oben beschrieben vollständig entleeren.   Vors ...

Fahrertür manuell ent- oder verriegeln
Lesen und beachten Sie zuerst die einleitenden Informationen und Sicherheitshinweise⇒Einleitung zum Thema Beim manuellen Verriegeln werden in der Regel alle Türen verriegelt. Beim manuellen Entriegeln wird nur die Fahrertür entriegelt. Hinweise zur Diebsta ...

© 2016-2025 Copyright www.vwtourande.com