Volkswagen Touran Handbücher

Volkswagen Touran Reparaturanleitung :: Halter für Einparkhilfe einbauen - Fahrzeuge 08.2010

  Hinweis

Bei Stoßfängerabdeckungen für Fahrzeuge ► 08.2010 sind die Löcher und Halter im Ersatzteil vorhanden.
Die Löcher und Halter lassen sich nicht nachträglich einbringen.
   

Werkzeuge

Benötigte Spezialwerkzeuge, Prüf- und Messgeräte sowie Hilfsmittel
   
Montagewerkzeug für PDC-Halter -VAS 6614-
  Werkzeuge
Handdruck-Pistole -VAS 5155-
  Werkzeuge

Materialien

  Hinweis

Die Teilenummern der Materialien sind dem "ETKA" zu entnehmen.
   
Reinigungslösung
→ Anmerkung1
 
1)  Die Verarbeitungshinweise nach Vorschrift des Herstellers in der Verpackungsbeilage sind zu beachten.
2)  Mindestaushärtezeit beachten → Kapitel.
   

Halter einbauen

  Hinweis

Die Halter werden eingebaut, nachdem die Stoßfängerabdeckung lackiert ist.
   

Halter einbauen

Die 4 Markierungen für den Halter -1- sind auf der Innenseite der Stoßfängerabdeckung zu finden.
Falls nicht vorhanden, ist der Mittelpunkt -2- zu ermitteln.
Mit dem im Werkzeugsatz beiliegenden Bohrer -3- werden die Löcher von innen nach außen vorgebohrt.

 
     

Halter einbauen

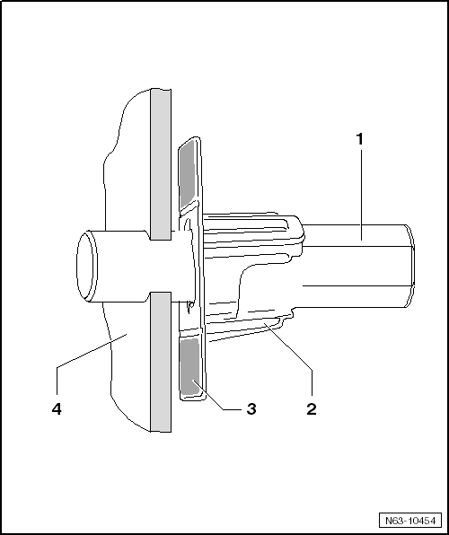
Den Stanzlocher mit Schraubkopf -1-, Unterlegscheibe -2- und Gegenlager -3- von der Innenseite der Stoßfängerabdeckung -5- ansetzen.
Das Stanzeisen -4- aufschrauben, nicht ganz bis auf die Stoßfängerabdeckung.
Das Stanzeisen -4- an die Stoßfängerabdeckung drücken.
Den Stanzlocher -1- festziehen.
  Hinweis

Das Stanzeisen -4- darf sich nicht auf dem Lack der Stoßfängerabdeckung drehen.
Das Stanzeisen -4- wird durch Drehen am Schraubkopf -1- durch das Material der Stoßfängerabdeckung -5- durchgezogen -Pfeile-.
Stanzlocher entfernen und die nächsten Löcher einbringen.
Stoßfängerabdeckung und Halter gründlich mit der Reinigungslösung reinigen.

 
     

Halter einbauen

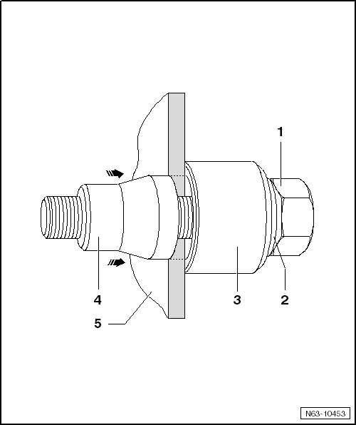
Klebeflächen an der Stoßfängerabdeckung -4- gründlich reinigen.
Halter -2- auf den Zentrierdorn -1- aufschieben.
Schutzfolie des doppelseitigen Klebebands -3- am Halter abziehen.
Zentrierdorn -1- durch das Loch führen, bis der Halter an der Stoßfängerabdeckung -4- anliegt.
Halter im Bereich der Klebefläche -3- kräftig andrücken.
Zentrierdorn entnehmen und diese Arbeitsschritte bei allen Haltern wiederholen.
Eine weitere Bearbeitung der Stoßfängerabdeckung erfolgt erst nach einer Mindestaushärtezeit → Kapitel

Mindestaushärtezeit

Weitere Arbeiten an der Stoßfängerabdeckung und den Haltern dürfen erst nach Ablauf der Mindestaushärtezeit von 2 Stunden erfolgen.
Die Mindestaushärtezeit ist einzuhalten, damit das Klebeband seine volle Klebekraft entfalten kann.
Die Stoßfängerabdeckung muss in dieser Zeit am Arbeitsplatz liegen bleiben und darf nicht bewegt werden.
   
Siehe auch:

Sicherheitskennzeichnung auf der Batterie
Sicherheitskennzeichnung auf der Batterie 1. -  Beim Umgang mit Batterien sind Feuer, Funken, offenes Licht und Rauchen verboten. Funkenbildung beim Umgang mit Kabeln, elektrischen Geräten und ...

Warn- und Kontrollleuchten
Lesen und beachten Sie zuerst die einleitenden Informationen und Sicherheitshinweise⇒Einleitung zum Thema  leuchtet mögliche Ursache Abhilfe Doppelkupplungsgetriebe DSG® überhitzt. Nicht weiterfahren! ...

© 2016-2025 Copyright www.vwtourande.com