Volkswagen Touran Handbücher

Volkswagen Touran Reparaturanleitung :: Geber für Parklenkassistent ersetzen

Wird ein neuer Geber für Parklenkassistent verbaut, muss der Geberkopf vorher in der Farbe der Stoßfängerabdeckung lackiert werden. Bei der Lackierung der Geber müssen die folgenden Bedingungen eingehalten werden, um die Funktion des Parklenkassistenten nicht zu beeinträchtigen.
   

Lackierung der Geber

Entkopplungsring (schwarzer Silikonring) vom Geberkopf abnehmen.
   
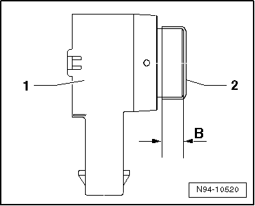
Geberkopf -1- in dem zu lackierenden Bereich -2- mit Isopropanol entfetten.
Geber in dem zu lackierenden Bereich -2- in der Farbe der Stoßfängerabdeckung lackieren.
  Hinweis

Das Maß -B- für den Lackauftrag beträgt 3 mm (+ maximal 2 mm).
Nach der Lacktrocknung den Entkopplungsring (schwarzer Silikonring) wieder auf den Geberkopf aufsetzen.
 
Vorsicht!
Das Dehnen des Entkopplungsringes ist unbedingt zu vermeiden.
Bei Verwendung eines beschädigten Entkopplungsringes kann es zu Funktionsstörungen kommen.
Ersetzen Sie beschädigte Entkopplungsringe.
  Lackierung der Geber
Siehe auch:

Funktionsweise des Sensors für Luftgüte -G238
Der Sensor für Luftgüte -G238- erkennt Schadstoffe in der Umgebungsluft und sendet entsprechende Signale an das Steuergerät für Climatronic. Je nach Stärke und Art der Schadstoffkonzentration steuert das S ...

Montageübersicht: Anbauteile für Aggregateträger Touran BlueMotion
1 -  Aggregateträger 2 -  Mutter 2 Nm 3 -  Abschirmung Einbauen -  Abschirmung an Aggregateträger → Pos. einhä ...

© 2016-2025 Copyright www.vwtourande.com