Volkswagen Touran Handbücher

Volkswagen Touran Reparaturanleitung :: Einseitiger Verschleiß

Ursachen dafür sind in vielen Fällen das Fahrverhalten, aber manchmal auch eine nicht korrekte Achseinstellung.
   
Erhöhter einseitiger Verschleiß
Einseitiger Verschleiß, meist in Verbindung mit Radiermerkmalen an Profilrippen und Feineinschnitten, tritt immer dann auf, wenn Reifen unter einem extremen Schräglaufwinkel abrollen und deshalb auf der Fahrbahn "radieren".
Schnelles Fahren auf kurvenreichen Strecken führt besonders auf der Außenschulter zu erhöhtem Verschleiß.
Eine abgerundete Reifenaußenschulter in Verbindung mit besonders hohem Verschleiß der äußeren Profilblöcke lässt auf schnelle Kurvenfahrt schließen. Dieses Verschleißbild wird durch den Fahrstil beeinflusst.
Zur Optimierung des Fahrverhaltens wird das Fahrwerk auf bestimmte Spur- und Sturzwerte eingestellt. Wenn die Reifen unter anderen als den vorgegebenen Bedingungen abrollen, muss mit einem einseitigen und erhöhten Verschleiß gerechnet werden.
Besonders bei falschen Spur- und Sturzwerten kann es zu einseitig stärkerem Verschleiß kommen, dazu wächst die Gefahr von diagonalen Auswaschungen.
  Einseitiger Verschleiß
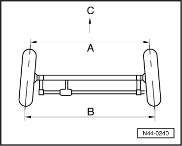
Nachspur oder negative Vorspur
Der Abstand der Räder zueinander ist vorn -A- größer als der Abstand-B- hinten (-C- Fahrtrichtung).
  Einseitiger Verschleiß
Vorspur oder positive Vorspur
Der Abstand der Räder zueinander ist vorn -A- kleiner als der Abstand -B- hinten (-C- Fahrtrichtung).
Um einseitigen Reifenverschleiß zu vermeiden, muss darauf geachtet werden, dass sich die Radstellung innerhalb der vom Fahrzeughersteller vorgeschriebenen Toleranz befindet. Die häufigste Abweichung der Radeinstellung tritt aufgrund von äußeren Einwirkungen auf, z. B. eine harte Berührung mit dem Bordstein beim Parken.
Bei einer Vermessung der Achsgeometrie kann festgestellt werden, ob die Radeinstellung innerhalb der vorgeschriebenen Toleranzen liegt oder ob eine Korrektur der Radstellung erforderlich ist.
Änderungen am Fahrwerk
Werden "Tieferlegungs-Kit" und/oder Leichtmetallräder vom Zubehör verwendet, die nicht vom Fahrzeughersteller empfohlenen sind, kann es zu Radstellungen kommen, die von der konstruktiv vorgegebenen Radstellung abweichen.
Auch wenn die Einstellung der Achsgeometrie während der Fahrzeugvermessung bei stehendem Fahrzeug in Ordnung ist, kann es durch die veränderte Standhöhe und Position der Räder im Fahrbetrieb zu einem veränderten Bewegungsablauf der Radaufhängung kommen.
Der ungleichmäßige Verschleiß ist damit vorprogrammiert.
Ungeeignete Verwendung der Niveaueinstellungen des Luftfederfahrwerks
Die Verwendung des Offroad-Levels wird nur für das Fahren im Gelände empfohlen! Die permanente Nutzung des Offroad-Levels im normalen Straßenbetrieb kann zu erhöhtem Reifenverschleiß führen, da die veränderte Standhöhe die Radstellung gegenüber dem Straßen-Level verändert.
Um das Auftreten von einseitigem Reifenverschleiß zu verhindern, ist einerseits eine korrekte Einstellung der Achsgeometrie und andererseits ein bestimmungsgemäßer Gebrauch des Fahrzeugs sicherzustellen:
Eine gute Wartung von Fahrzeug und Reifen hilft Reifenverschleiß vorzubeugen. Dabei sind insbesondere die folgenden Hinweise zu beachten:
Die vorgeschrieben Mindestreifenfülldrücke müssen eingehalten werden.
Ein unterschiedlicher Verschleiß an Vorder- und Hinterachse ist je nach Fahrweise nicht zu vermeiden. Diesem Umstand kann durch regelmäßiges, achsweises Tauschen der Räder entgegengewirkt werden. Dazu bietet sich zum Beispiel der turnusmäßige Wechsel von Sommer- auf Winterreifen und zurück an. Dieser Wechsel hat gleichzeitig den positiven Nebeneffekt, dass alle Reifen gleichzeitig verschlissen sind und ein komplett neuer Reifensatz montiert werden kann. Dies vermeidet die Verwendung unterschiedlicher Reifenprofile auf den beiden Achsen, was negative Auswirkungen auf das Fahrverhalten haben kann.
Insbesondere bei sehr ruhiger Fahrweise ist die Bildung eines Sägezahns ein normales Verschleißbild → Kapitel. Dies kann zu einem erhöhten Abrollgeräusch führen, das aber mit abnehmender Profiltiefe in der Regel wieder geringer wird. Bei leichter Sägezahnbildung oder wenn der Sägezahn noch im entstehen ist, ist ein achsweises Tauschen der Räder in der Regel ausreichend. Bei stärkerer Sägezahnbildung sollten die Räder gemäß → Kapitel so getauscht werden, dass ihre Laufrichtung umgedreht wird. Dies gilt nicht bei laufrichtungsgebundenen Reifen!
Bei einigen Reifenprofilen kann optisch der Eindruck eines vorzeitigen Verschleißes entstehen: Wenn sich Winterreifenlamellen oder Profilierungseinschnitte abgefahren haben, bleiben nur noch kompakte Profilblöcke ohne Negativanteil stehen, die den Eindruck eines abgefahren Reifens vermitteln. In diesem Fall muss die Restprofiltiefe in jeder Profilrille gemessen werden. Ist diese größer als die gesetzlich geforderte Mindestprofiltiefe (Deutschland 1,6 mm; es wird empfohlen Winterreifen ab einer Restprofiltiefe von 4 mm nur noch im Sommerbetrieb zu benutzen [Vorschrift in Österreich]), kann der Reifen ohne Einschränkungen weiter verwendet werden.
  Einseitiger Verschleiß
Siehe auch:

Korrosionsschutzmaßnahme Kotflügel im Anlagebereich der Radhauschale
  Hinweis Die Korrosionsschutzmaßnahme im Kotflügelfalz ist bei allen neuen Ersatzteilen aufzutragen, bei denen die zusätzliche Abdichtung werkseitig nicht vorhanden ist. Die zusätzliche Abdichtung soll k ...

Rad montieren, Montagehinweise Volkswagen
Fahrzeuge mit Sensor für Reifendruck Werden die Räder gewechselt (z. B. Wechsel von Sommer- auf Winterreifen), so senden die Radelektroniken Daten, sobald die Geschwindigkeit der neuen Räder mehr al ...

© 2016-2026 Copyright www.vwtourande.com