Volkswagen Touran Handbücher

Volkswagen Touran Reparaturanleitung :: Bördelgerät - Montageübersicht

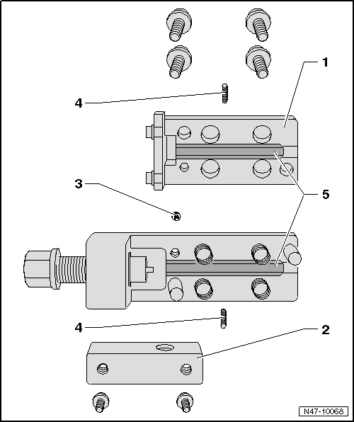
Bördelgerät - Montageübersicht

1 -  Bördelgerät Oberteil
zum Wechseln der Bördelbacken abschrauben
2 -  Befestigung für Handgriff
muss abgeschraubt werden um an die Befestigungsschraube für das Oberteil zu gelangen
3 -  Befestigungsschraube
für Bördelgerät Oberteil
4 -  Madenschrauben für Bördelbacken
zentrieren und halten die Bördelbacken
2 mm Innensechskant
5 -  Bördelbacken
unterschiedlich
Montageanweisung → Abb.

 
     
Montageanweisung Bördelbacken:
-VAS 6056/6- (dunkel) für schwarze Bremsleitungen
-VAS 6056/7- (hell) für grüne Bremsleitungen
  Hinweis

Der Pfeil, auf der abgerundeten Seite der Bördelbacken, muss zum Gehäuserand zeigen.
Gerade Seite der Bördelbacken muss zur Spindel eingebaut sein, sonst wird der Bördelkopf nicht richtig ausgebildet.
  Bördelgerät - Montageübersicht
Siehe auch:

Anlasser aus- und einbauen, 2,0 l TDI-Motor 125 KW, Doppelkupplungsgetriebe (DSG) DQ250-6F
Benötigte Spezialwerkzeuge, Prüf- und Messgeräte sowie Hilfsmittel Drehmomentschlüssel -V.A.G 1331- Drehmomentschlüssel -V.A.G 1332- Zange für Federbandschellen -VAS 5024- ...

Einleitung zum Thema
In diesem Kapitel finden Sie Informationen zu folgenden Themen:⇒ Fenster elektrisch öffnen oder schließen  ⇒ Elektrische Fensterheber – Funktionen ⇒ Kraftbegrenzung der Fensterheber  Ergänzende Informationen und Warnhinweise: Volkswagen Inf ...

© 2016-2026 Copyright www.vwtourande.com