Volkswagen Touran Handbücher

Volkswagen Touran Reparaturanleitung :: Übersicht der Steckverbindungen am Radio-Navigationssystem "RNS 310"

Volkswagen Touran Reparaturanleitung / Kommunikation / Radio-Navigationssystem "RNS 310" / Übersicht der Steckverbindungen am Radio-Navigationssystem "RNS 310"

Übersicht der Steckverbindungen am Radio-Navigationssystem

1 -  Mehrfachsteckverbindung 1, 8fach
Kontaktbelegung → Kapitel
2 -  Mehrfachsteckverbindung 2, 8fach
Kontaktbelegung → Kapitel
3 -  Mehrfachsteckverbindung 3, 12fach
Kontaktbelegung → Kapitel
4 -  Mehrfachsteckverbindung 4, 12-fach
Kontaktbelegung → Kapitel
5 -  Steckverbindung 5
Antennenanschluss für Navigation
Kontaktbelegung → Kapitel
6 -  Steckverbindung 6
Antennenanschluss für Radioempfang
Kontaktbelegung → Kapitel
6 -  Steckverbindung 7
Antennenanschluss für Radioempfang
Kontaktbelegung → Kapitel

Mehrfachsteckverbindung 1, 8fach, für Lautsprecherausgänge

1 -  Lautsprecher, plus, hinten rechts
2 -  Lautsprecher, plus, vorn rechts
3 -  Lautsprecher, plus, vorn links
4 -  Lautsprecher, plus, hinten links
5 -  Lautsprecher, minus, hinten rechts
6 -  Lautsprecher, minus, vorn rechts
7 -  Lautsprecher, minus, vorn links
8 -  Lautsprecher, minus, hinten links
  Mehrfachsteckverbindung 1, 8fach, für Lautsprecherausgänge

Mehrfachsteckverbindung 2, 8fach, für Spannungsversorgungsleitungen und CAN Bus

9 -  CAN-Bus High
10 -  CAN-Bus Low
11 -  Display Versorgung, plus, geschaltet
12 -  Spannungsversorgung, minus, Klemme 31
13 -  Display High Speed CAN-Bus, minus
14 -  Display High Speed CAN-Bus, plus
15 -  Spannungsversorgung, plus, Klemme 30
16 -  Steuersignal für Diebstahlsicherung, SAFE
  Mehrfachsteckverbindung 2, 8fach, für Spannungsversorgungsleitungen und CAN Bus

Mehrfachsteckverbindung 3, 12fach, für Telefonsignale

1 -  Mikrofon-Eingang, minus
2 -  AUX-Out, Audio rechts, plus
3 -  AUX-Out, Audio, Masse
4 -  Mikrofon-Ausgang, minus
5 -  Telefon-Audioeingangssignal links, minus
6 -  Telefon-Audioeingangssignal rechts, minus
7 -  Mikrofon-Eingang, plus
8 -  AUX-Out, Audio links, minus
9 -  Mikrofon-Ausgang, plus
10 -  Telefon-Mute (Stummschaltung Radio)
11 -  Telefon-Audioeingangssignal links, plus
12 -  Telefon-Audioeingangssignal rechts, plus
  Mehrfachsteckverbindung 3, 12fach, für Telefonsignale

Mehrfachsteckverbindung 4, 12fach, für CD-Wechsler-Steuerung und CD-Audio-Eingangssignale

1 -  Eingang AUX-Signale, links
2 -  AUX-Signalmasse
3 -  CD-Wechsler, Audio-Signalmasse
4 -  CD-Wechsler, Spannungsversorgung, plus, Klemme 30, Kontakt-Dauerbelastbarkeit größer 1A, kurzzeitige Spitzenbelastbarkeit 5A
5 -  nicht belegt
6 -  CD-Wechsler, DATA OUT (Datenaustausch zur CD-Wechsler-Steuerung vom Radio-Navigationssystem zum CD-Wechsler)
7 -  Eingang AUX-Signale, rechts
8 -  CD-Wechsler, Audio linker Kanal, CD/L
9 -  CD-Wechsler, Audio rechter Kanal, CD/R
10 -  CD-Wechsler, Steuerleitung, geschaltetes Plus
11 -  CD-Wechsler, DATA IN (Datenaustausch zur CD-Wechsler-Steuerung vom CD-Wechsler zum Radio-Navigationssystem)
12 -  CD-Wechsler, CLOCK (internes Prüfprotokoll zur Überwachung des Datenflusses)
  Mehrfachsteckverbindung 4, 12fach, für CD-Wechsler-Steuerung und CD-Audio-Eingangssignale

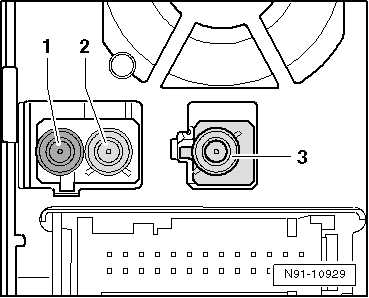
Steckverbindung 5, 6 und 7, Antennenanschlüsse

1 -  Steckverbindung Antenne Radioempfang AM und FM, Doppelfakra, keine Codierung, Impedanz 50 Ohm, Farbe Cremeweiß
2 -  Steckverbindung Antenne Radioempfang FM 2, Doppelfakra,Codierung B, Impedanz 50 Ohm, Farbe Cremeweiß
3 -  Steckverbindung Antenne Navigation (GPS), Fakra, Codierung C, Impedanz 50 Ohm, Farbe Signalblau
  Steckverbindung 5, 6 und 7, Antennenanschlüsse
Siehe auch:

Frontairbags
Abb. 66 Einbauort und Entfaltungsbereich des Fahrer-Frontairbags. Abb. 67 Einbauort und Entfaltungsbereich des Beifahrer-Frontairbags. Lesen und beachten Sie zuerst die einleitenden Informationen und Sicherheitshinweise⇒Einleitung zum Thema Das Frontairbag ...

Taste für Fahrerassistenzsysteme
Abb. 15 Im Blinker- und Fernlichthebel: Taste für Fahrerassistenzsysteme (bei Fahrzeugen mit Lane Assist). Lesen und beachten Sie zuerst die einleitenden Informationen und Sicherheitshinweise⇒Einleitung zum Thema Mit der Taste im Blinker- und Fernlichthebe ...

© 2016-2026 Copyright www.vwtourande.com